Product Summary
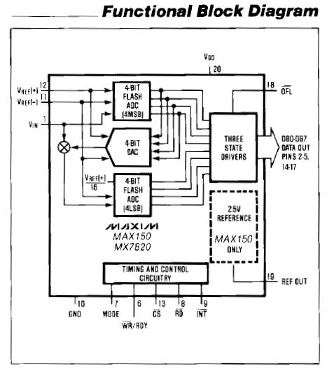
The MAX1502VETJ-T is a high speed, microprocessor compatible, 8 bit analog to digital coverter which uses a half-flash technique to achieve a conversion time of 1.34 μs. The converter has a 0V to +5V analog input range and uses a single +5V supply.
Parametrics
Absolute maximum ratings: (1)supply voltage, VDD to GND: 0V, +10 V; (2)voltage at any other pins: GND-0.3V, VDD+0.3V; (3)output current: 30mA; (4)power dissipation( any package) to 75℃: 450mW; (5)derate above +75℃ by: 6mW/℃; (6)operating temperature range: 0℃ to +70℃; (7)storage temperature range: -65 to +160℃; (8)lead temperature: +300℃.
Features
Features: (1)fast conversion time: 1.34μs max.; (2)built-in track-and-hold function; (3)no adjustment required; (4)no external clock; (5)single +5V supply; (6)easy interface to microprocessors; (7)internal 2.5V reference.
Diagrams

![]() |
![]() MAX10 |
![]() Aavid Thermalloy |
![]() Heat Sinks 39.85 N (8.96 lbs) |
![]() Data Sheet |
![]() Negotiable |
|
||||||||||||
![]() |
![]() MAX100 |
![]() Other |
![]() |
![]() Data Sheet |
![]() Negotiable |
|
||||||||||||
![]() |
![]() MAX1002 |
![]() Other |
![]() |
![]() Data Sheet |
![]() Negotiable |
|
||||||||||||
![]() |
![]() MAX1002CAX |
![]() Maxim Integrated Products |
![]() ADC (A/D Converters) |
![]() Data Sheet |
![]() Negotiable |
|
||||||||||||
![]() |
![]() MAX1002CAX+ |
![]() Maxim Integrated Products |
![]() ADC (A/D Converters) Low-Power 60Msps Dual 6-Bit |
![]() Data Sheet |
![]()
|
|
||||||||||||
![]() |
![]() MAX1002CAX+T |
![]() Maxim Integrated Products |
![]() ADC (A/D Converters) Low-Power 60Msps Dual 6-Bit |
![]() Data Sheet |
![]()
|
|
||||||||||||
(China (Mainland))






